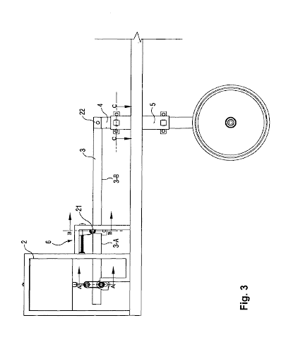
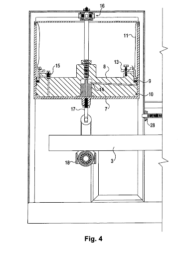
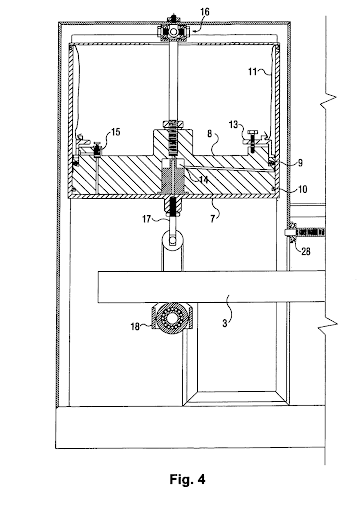
About SAER – Aerostatic Suspension
A Virtual Kinetic Sculpture made as a homage to my father and his innovative suspension patented design.
Translation Loading...
Additional App Information
-
Category:
-
Latest Version:1.0.0.1
-
Released on:Sep 30, 2018
-
Developed by:Myself Inc.
-
Requires Android:Android 5.0+
-
Available on:
-
Report:
Show More
























